����
HOT ����
TOP ����

ī�޶�/����
�귣�庰 �����˻�

LATEST NEWS

RSS

�Ҵ�, A ����Ʈ 50MP ��ȭ�� A9�� RX100M4�� �غ���?
DATE2015-04-07 COMMENT3
�ҴϾ��ķ�ӽ��� 4�� 23�� ��ǥ ��⿡ ���� �ҹ��� ����Ǿ���. [���� ���� ���] ���� �Ҵϰ� 4�� 23�Ͽ� ����ǰ�� ��ǥ �� ���� 99% Ȯ�� ���̴�. E ����Ʈ ��ǰ�� 5���� ��ǥ�� ���̴�. �Ϻ� �븮�����κ��� ������ �޾Ҵ�. .. more
TAG�Ҵ�RX2RX20A99IIA9RX100M4

[����] �Ҵϰ� 4�� 23�Ͽ� ��ǥ�ϴ� ī�޶��?
DATE2015-03-31 COMMENT3
�ҴϾ��ķ�ӽ��� ����� 4�� 23�� �Ҵ� ����ǰ ��ǥ�� ���� ������. [���� ���� ���] ������ �ٸ� ���� �� �ִ� �� �ϳ��� �ҽ��� ���ϸ� �Ҵϰ� 4�� 23�Ͽ� ����ǰ�� ��ǥ�ϴ� ������ Ȯ���ߴ�. �׿� ���ϸ� �̳� E ����Ʈ ī��.. more
TAG�Ҵ�RX2RX20A99II

�Ҵ�, 4K ������ ���� RX20. �� ��ǥ?
DATE2014-09-29 COMMENT6
[������ RX10] �ҴϾ��ķ�ӽ����Ŀ� ����� �Ҵ��� ���̿��� ī�޶� RX10 �ļӿ� ���� �ҹ��̴�. [���� ����] �ij��Ҵ� FZ1000�� �������� ���� �Ҵϴ� ���� ������ �غ� ���̴�. �͸��� �ҽ��� ���� �Ʒ��� ���� ������ ��.. more
TAG�Ҵ�RX20

�Ҵ� RX2�� 36MP�� �� ������ ���ɼ��� �ִ�?
DATE2014-08-07 COMMENT3
�ҴϾ��ķ�ӽ��� ����� �Ҵ� RX ���� ī�޶� ���� �ҹ��̴�. [���� ����] �� ����� ������ ���̽� 35mm F1.8�� ž���� ���� RX �ø��� ī�޶� ���� �� ���� Ȯ���ϰ� �ִ�. �׷��� �͸��� ���ο� ������ ���ϸ� �� ����� .. more
TAG�Ҵ�RX2

�Ҵ�, Ǯ������ ī�޶� �� �޴����� � ������ ����.
DATE2014-06-16 COMMENT3
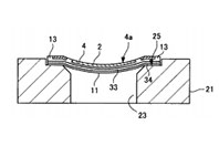
http://spectrum.ieee.org �� ������ �Ҵ��� ��鼾�� �̹����� ������. �Ҵ��� �����Ͼ�鰡 ���� ��ġ�� ����Ͽ� ��� CMOS ������ �����ߴٰ� �����ϰ� �ִ�. �ΰ��� ���� ���·� �� �� ��� ������ ���� ��ġ�� ����Ͽ� ����.. more
TAG�Ҵ���鼾��RX2

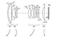
�Ҵ� RX2�� � ������ 35mm F1.8 ��� ä��?
DATE2014-04-23 COMMENT4
�ҴϾ��ķ�ӽ��� ����� �Ҵ� RX2�� ���� �ҹ�. �ֱٿ� ���� ���� �ҹ����μ� � ������ ä���� RX2�� ������ ��ǥ�� �� ���ٴ� ������ �ҴϷκ��� ���� ����ٰ� �Ѵ�. �Ҵϴ� Ǯ������ ī�޶� ���� ������ Ư�㰡 ������ 35mm.. more
TAG�Ҵ�RX2

�Ҵ� RX200��, 28-100mm F1.8-F2.8 ����?
DATE2014-04-21 COMMENT2
�Ҵ� 1��ġ ���� ������ ȯ�� 28-100mm ������ �� Ư�㰡 ����Ǿ���. �Ҵϰ� 1��ġ ������ �����ϴ� 10-36mm F1.8-F2.8�� Ư�㸦 ������̶�� �ҽ�. �� ���� 35mm �ʸ� ȯ������ �ϸ� 28-100mm�� ����ϴ� �� ����μ� ���� ����.. more
TAG�Ҵ�RX200

�Ҵ� Ǯ�������� RX ���� ī�޶�, ����Ű�� ���� ����?
DATE2014-02-27 COMMENT7
�ҴϾ��ķ�ӽ��� ����� ���� RX�� ���� ���. ���ο� ������ ������ ���� Ǯ ������ RX�� ���� ���ε�, �� ī�޶�� ���� ���ֵǴ� 9���� ����Ű�� ���� ��ǥ�� ���̸�, �� ī�޶� ���� �ٸ� �ҽİ� �Բ� �����Ѵٴ� ���̴�. .. more
TAG�Ҵ�RXRX2
  
Copyright 1999-2026 Zeroboard
������